|
Item |
PartNo |
Description |
Qty |
Options |
Ref |
Alt |
|
? |
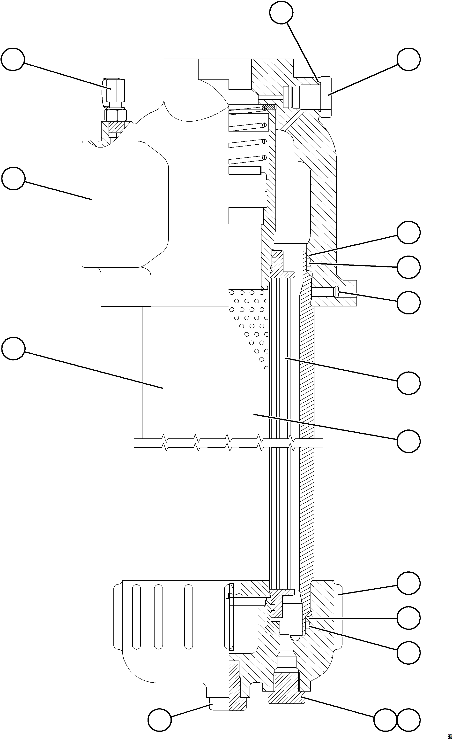
PB6770 |
COUPLING, MALE QUICK DISCONNECT |
1 |
|
|
|
|
? |
58D-60-01100 |
PLUG, FILTER |
1 |
|
|
|
|
? |
58E-60-00030 |
HYDRAULIC FILTER ASSEMBLY |
1 |
|
|
|
|
? |
|
• HEAD, FILTER (1) |
1 |
|
|
|
|
? |
|
• HOUSING, FILTER (1) |
1 |
|
|
|
|
? |
WA0055 |
• O-RING |
1 |
|
|
|
|
? |
TG4083 |
• O-RING (2) |
2 |
|
|
|
|
? |
BF2196 |
• RING, BACKUP (2) |
2 |
|
|
|
|
? |
BF2197 |
• SCREW, SET |
1 |
|
|
|
|
? |
58E-60-00040 |
• ELEMENT, FILTER, 20" CORE |
1 |
|
|
|
|
? |
|
• CAP, FILTER (1)/(2) |
1 |
|
|
|
|
? |
VM0315 |
• PLUG (2) |
1 |
|
|
|
|
? |
SV9812 |
• O-RING (2) |
2 |
|
|
|
|
? |
BF2194 |
• PLUG, BOTTOM (2)/(3) |
1 |
|
|
|
|
? |
BF2207 |
• FITTING, STRAIGHT THREADED (2) |
1 |
|
|
|
|
? |
|
NOTE: (1) NOT SERVICED SEPARATELY. |
|
|
|
|
|
? |
|
(2) INCLUDED IN BF3632 FILTER COVER ASSEMBLY. |
|
|
|
|
|
? |
|
(3) INCLUDES O-RINGS SV8912 & WA0055. |
|
|
|
|