|
Item |
PartNo |
Description |
Qty |
Options |
Ref |
Alt |
|
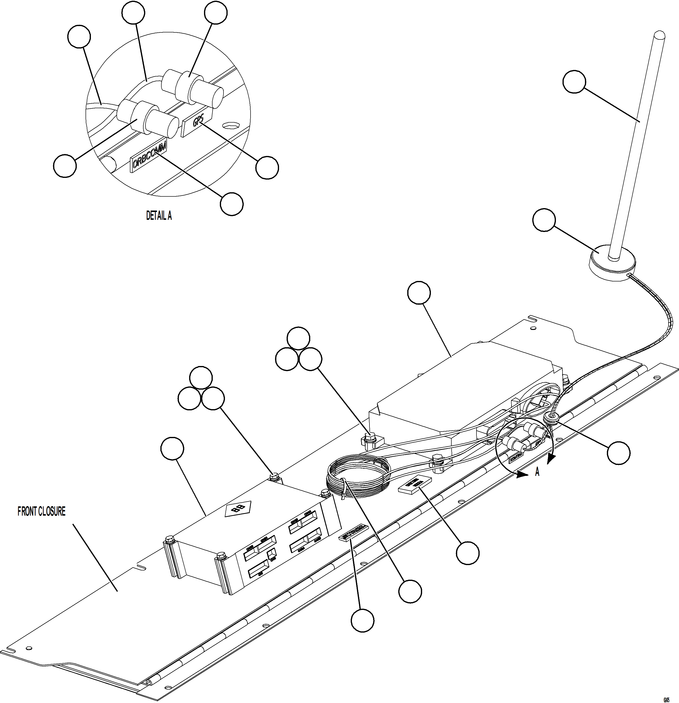
? |
PC3134 |
ANTENNA, GPS-ORBCOMM |
1 |
|
|
|
|
? |
PC3133 |
BASE, ANTENNA |
1 |
|
|
|
|
? |
TD2186 |
GROMMET, RUBBER |
1 |
|
|
|
|
? |
PC1701 |
FITTING, BULKHEAD COAX |
2 |
|
|
|
|
? |
PC3137 |
CABLE, MODEM |
1 |
|
|
|
|
? |
PC1962 |
HARNESS, WIRING - ORBCOMM |
1 |
|
|
|
|
? |
WB3899 |
NAME PLATE - GPS |
1 |
|
|
|
|
? |
58D-06-03100 |
NAME PLATE - ORBCOMM |
1 |
|
|
|
|
? |
WB2879 |
NAME PLATE - ORBCOMM MODEM |
1 |
|
|
|
|
? |
VZ0598 |
TYRAP |
2 |
|
|
|
|
? |
WB2838 |
NAME PLATE - VHMS COMMON CONTROLLER |
1 |
|
|
|
|
? |
7826-12-2511 |
CONTROLLER, ORBCOMM |
1 |
|
|
|
|
? |
MM0594 |
CAPSCREW - M8 X 1.25 X 25 |
4 |
|
|
|
|
? |
MM0470 |
LOCKWASHER - M8 |
8 |
|
|
|
|
? |
MM0460 |
FLAT WASHER - M8 |
8 |
|
|
|
|
? |
MM0401 |
CAPSCREW - M8 X 1.25 X 90 |
4 |
|
|
|
|
? |
7826-19-7500 |
CONTROLLER, KOMTRAX PLUS |
1 |
|
|
|