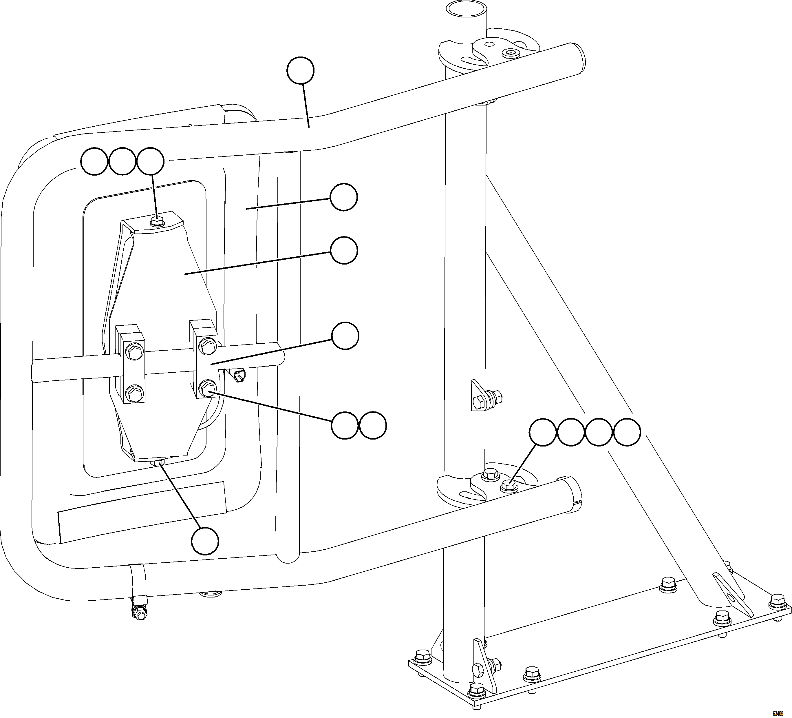
|
Item |
PartNo |
Description |
Qty |
Options |
Ref |
Alt |
|
? |
58B-54-20451 |
MOUNT, MIRROR |
1 |
|
|
|
|
? |
PC1042 |
MIRROR |
1 |
|
|
|
|
? |
58B-54-22000 |
MOUNT, MIRROR |
1 |
|
|
|
|
? |
MM0621 |
CAPSCREW - M12 X 1.75 X 45 |
4 |
|
|
|
|
? |
MM0472 |
LOCKWASHER - M12 |
4 |
|
|
|
|
? |
MM0714 |
FLAT WASHER, HARDENED - M12 |
12 |
|
|
|
|
? |
MM0179 |
NUT - M12 X 1.75 |
4 |
|
|
|
|
? |
EM9038 |
CLAMP |
2 |
|
|
|
|
? |
MM0623 |
CAPSCREW - M12 X 1.75 X 60 |
4 |
|
|
|
|
? |
MM0606 |
CAPSCREW - M10 X 1.50 X 30 |
2 |
|
|
|
|
? |
MM0713 |
FLAT WASHER, HARDENED - M10 |
4 |
|
|
|
|
? |
MM0693 |
LOCKNUT - M10 X 1.50 |
2 |
|
|
|
|
? |
08193-21012 |
CLIP |
1 |
|
|
|