Komatsu Parts Catalogs












Item PartNo Description Qty Options Ref Alt
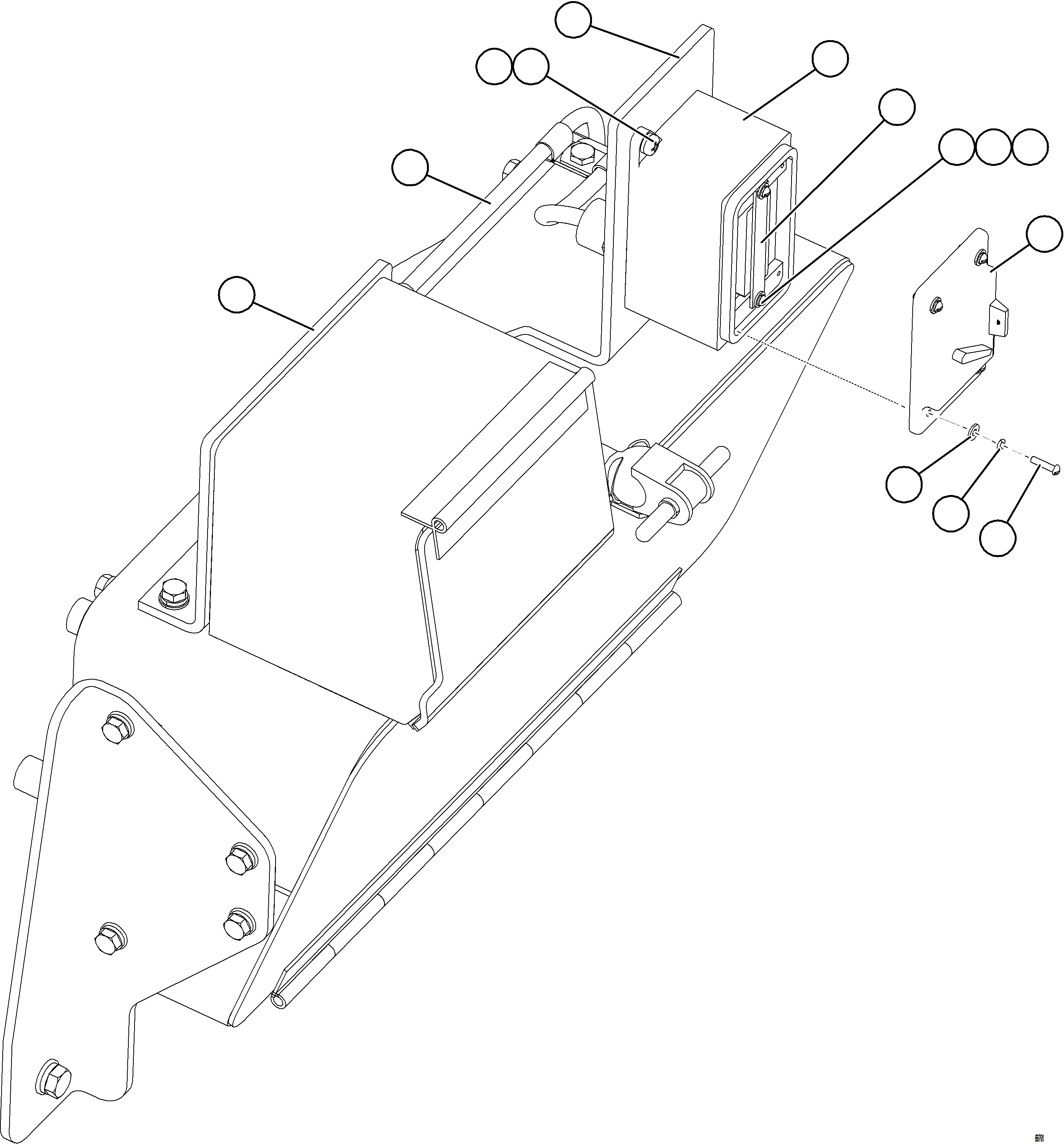
? 58B-90-01000 CONDULET 1
? VA2828 SWITCH, FLUSH 1
? VA2826 COVER, SWITCH 1
? VN7129 MACHINE SCREW - #6 - 32NC X 5/8" 6
? DF4944 LOCKWASHER - #6 6
? VN9764 FLAT WASHER - #6 6
? MM0358 MACHINE SCREW - M6 X 1.00 X 16 2
? MM0469 LOCKWASHER - M6 2
? 58B-54-02370 BRACKET, SWITCH MOUNTING 1
? 58B-06-21390 HARNESS, WIRING - LH LADDER 1
? 58E-06-11840 BOX, EMERGENCY ENGINE SHUTDOWN 1

Dump Trucks Komatsu / AFE NEW / AFE75-AL 980E-5 S/N A50141  ESPERANZA SUR(afe75-al) / GROUND LEVEL LADDER LIGHTS SWITCH(E-062 : 69761)
?
?
?
?
?
?
?
?
?
?
?
?
?
?