k-part.com
Вход
Komatsu Parts Catalogs
Корень
Dump Trucks Komatsu
AFE NEW
AFE75-AL 980E-5 S/N A50141 ESPERANZA SUR(afe75-al)
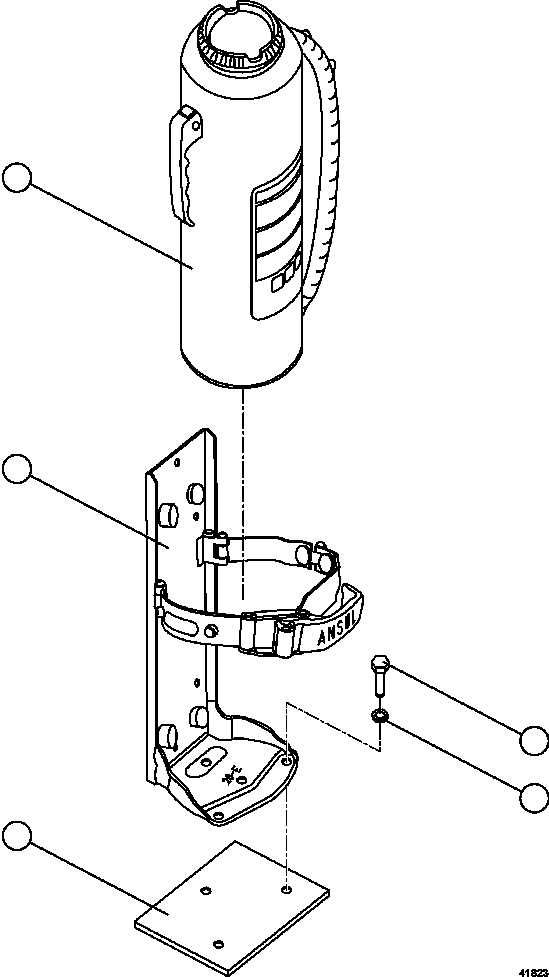
FIRE EXTINGUISHER(W-042 : 41823)
Item
PartNo
Description
Qty
Options
Ref
Alt
?
PB2849
FIRE EXTINGUISHER
2
?
PB2850
BRACKET, FENDER
2
?
VW6804
PAD, TAPPED
1
?
H8524
CAPSCREW - 3/8" - 16NC X 5/8"
6
?
C0312
LOCKWASHER - 3/8"
6
?
?
?
?
?