k-part.com
Вход
Komatsu Parts Catalogs
Корень
Dump Trucks Komatsu
AFE NEW
AFE78-AY 930E-5 S/N A40170 THEISS(afe78-ay)
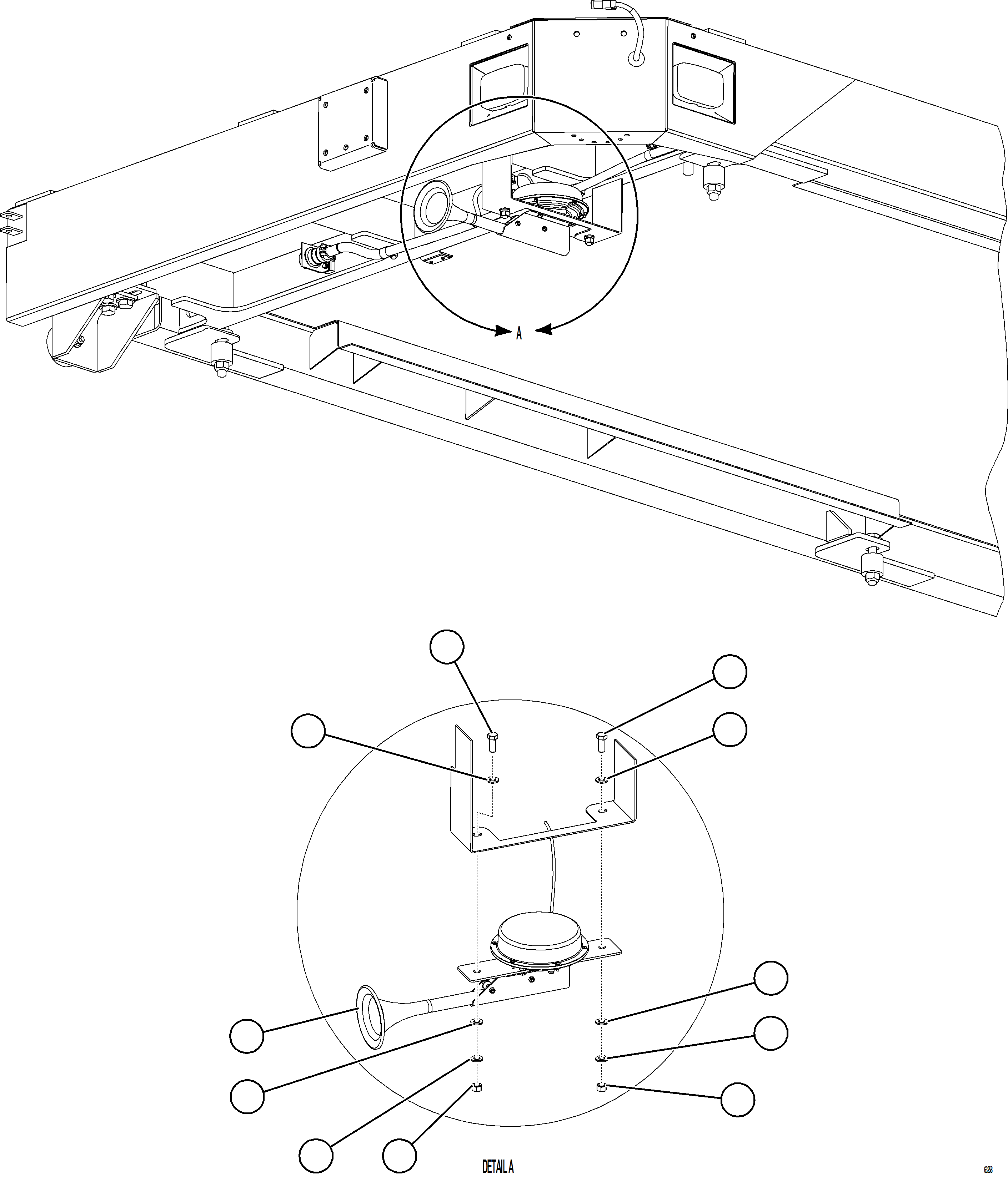
HORN INSTALLATION(116 : 63258)
Item
PartNo
Description
Qty
Options
Ref
Alt
?
58F-54-20452
HORN, ELECTRIC
1
?
MM0179
NUT - M12 X 1.75
2
?
MM0462
FLAT WASHER - M12
4
?
MM0472
LOCKWASHER - M12
2
?
MM0618
CAPSCREW - M12 X 1.75 X 30
2
?
?
?
?
?
?
?
?
?
?
?