k-part.com
Вход
Komatsu Parts Catalogs
Корень
Dump Trucks Komatsu
AFE NEW
AFE78-AY 930E-5 S/N A40170 THEISS(afe78-ay)
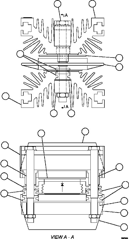
DIODE/HEAT SINK ASSEMBLY GE0558(290 : 64044)
Item
PartNo
Description
Qty
Options
Ref
Alt
?
GE0559
SINK, HEAT
2
?
VE5038
BAR, SUPPORT
1
?
VE5037
SHIELD, GLASTIC
1
?
VE5036
GROMMET
4
?
VE5039
TUBE
2
?
VE5035
CLAMP
1
?
VE4328
RING, MOLDED
1
?
VE0174
DIODE
1
?
?
?
?
?
?
?
?
?
?
?
?
?
?
?
?
?
?
?