k-part.com
Вход
Komatsu Parts Catalogs
Корень
Dump Trucks Komatsu
AFE NEW
AFE78-AP 930E-5 S/N A40105 - A40106 THEISS(afe78-ap)
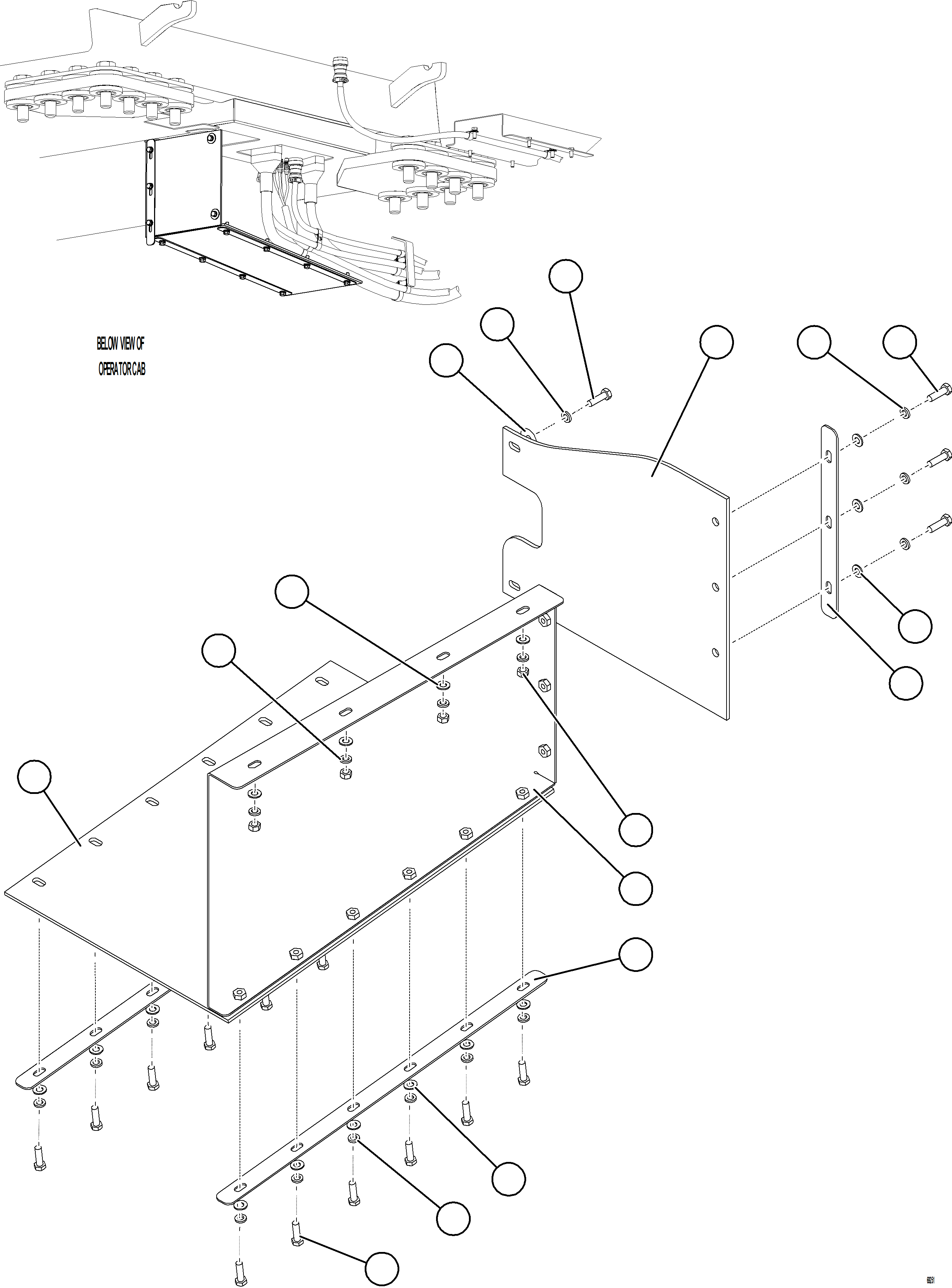
CAB CONNECTOR MUD FLAPS(756 : 69251)
Item
PartNo
Description
Qty
Options
Ref
Alt
?
58F-80-05870
MUD FLAP
1
?
58F-80-06111
BRACKET
1
?
58F-80-05770
MUD FLAP
1
?
58F-80-05790
PLATE, RETAINER
1
?
58F-80-05890
PLATE, RETAINER
2
?
58F-09-00380
FLAT WASHER - 3/8"
2
?
MM0178
NUT - M10 X 1.50
4
?
MM0471
LOCKWASHER - M10
21
?
MM0607
CAPSCREW - M10 X 1.50 X 35
17
?
MM0461
FLAT WASHER - M10
20
?
?
?
?
?
?
?
?
?
?
?
?
?
?
?
?
?