Komatsu Parts Catalogs

Title Page Reference
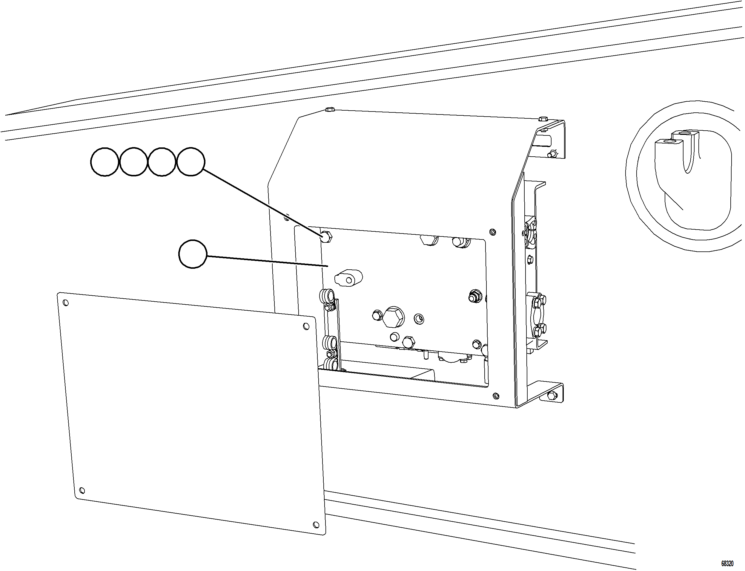
STEERING BLEEDDOWN MANIFOLD PC1493 494 61573






Item PartNo Description Qty Options Ref Alt
? SR7222 CAPSCREW - 5/8" - 11NC X 8" 4
? WA0361 FLAT WASHER, HARDENED - 5/8" 4
? C1541 LOCKWASHER - 5/8" 4
? C1525 NUT - 5/8" - 11NC 4
? PC1493 BLEEDDOWN MANIFOLD (SEE INDEX) 1 61573

Dump Trucks Komatsu / AFE NEW / AFE78-AP 930E-5 S/N A40105 - A40106  THEISS(afe78-ap) / STEERING BLEEDDOWN MANIFOLD INSTALLATION(492 : 68320)
?
?
?
?
?