|
Item |
PartNo |
Description |
Qty |
Options |
Ref |
Alt |
|
? |
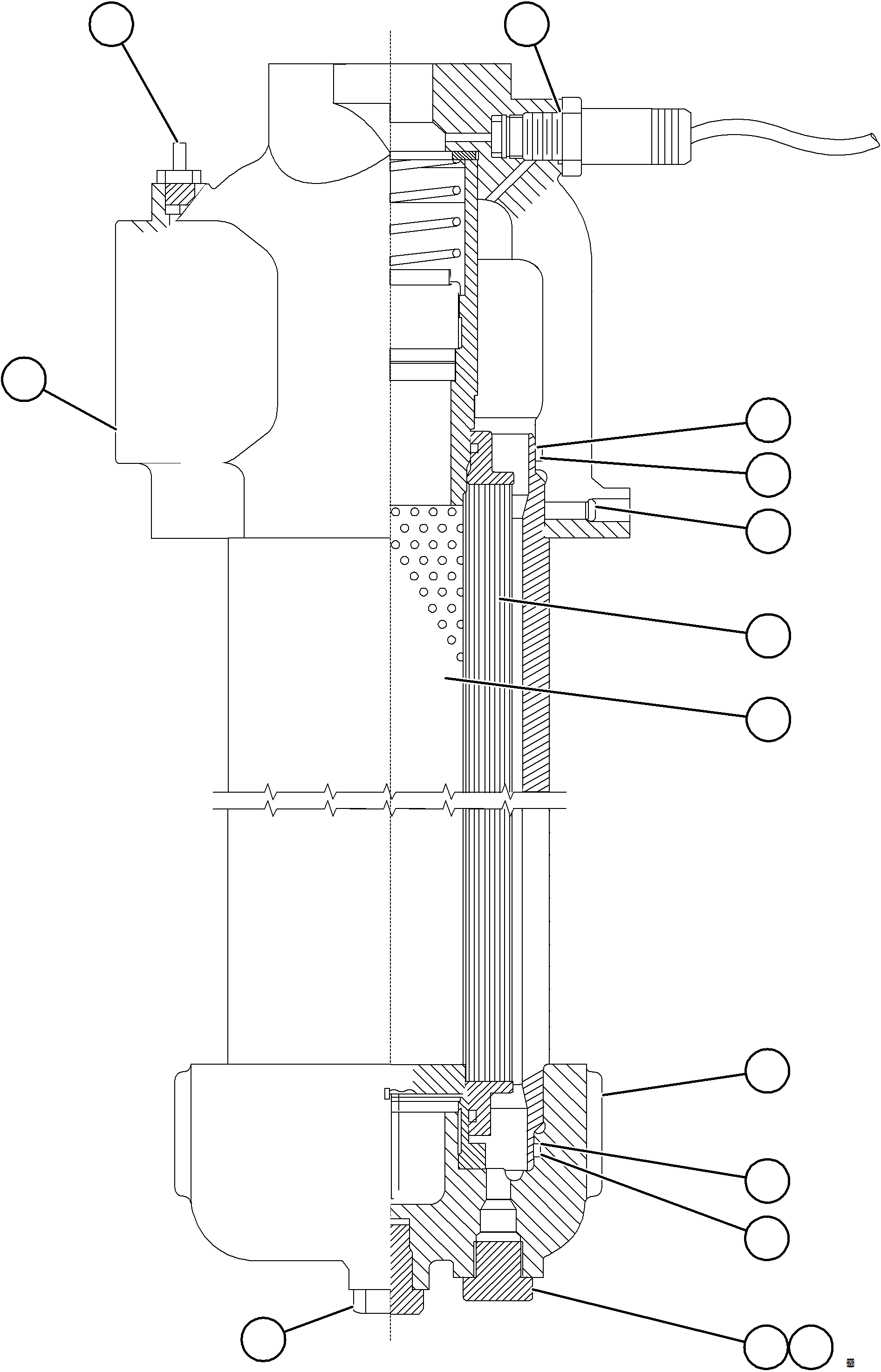
PB6770 |
COUPLING, MALE QUICK DISCONNECT |
1 |
|
|
|
|
? |
TF5194 |
• O-RING |
1 |
|
|
|
|
? |
162144 |
• CAP, DUST |
1 |
|
|
|
|
? |
58E-60-00030 |
HYDRAULIC FILTER ASSEMBLY |
1 |
|
|
|
|
? |
58E-98-02250 |
• TUBE, FILTER |
1 |
|
|
|
|
? |
58E-98-02260 |
• RETAINER |
1 |
|
|
|
|
? |
58E-98-02270 |
• SEAL RING |
1 |
|
|
|
|
? |
58E-98-02280 |
• RING |
1 |
|
|
|
|
? |
58E-98-02290 |
• GUIDE, SPRING |
1 |
|
|
|
|
? |
58E-98-02330 |
• RING, RETAINING |
1 |
|
|
|
|
? |
58E-98-02340 |
• POPPET, VALVE |
1 |
|
|
|
|
? |
58E-98-02350 |
• PLUG, CAVITY |
2 |
|
|
|
|
? |
BF2193 |
• DECAL |
1 |
|
|
|
|
? |
BF2192 |
• HEAD, FILTER |
1 |
|
|
|
|
? |
BF2203 |
• SPRING |
1 |
|
|
|
|
? |
BF3091 |
• DECAL |
1 |
|
|
|
|
? |
58D-60-01100 |
• PLUG, FILTER |
1 |
|
|
|
|
? |
WA0055 |
• O-RING |
1 |
|
|
|
|
? |
SV9812 |
• O-RING |
1 |
|
|
|
|
? |
58E-98-02350 |
• PLUG, CAVITY |
1 |
|
|
|
|
? |
WA0055 |
• O-RING |
2 |
|
|
|
|
? |
SV9812 |
• O-RING |
1 |
|
|
|
|
? |
TG4083 |
• O-RING |
2 |
|
|
|
|
? |
BF2196 |
• RING, BACKUP |
2 |
|
|
|
|
? |
BF2197 |
• SCREW, SET |
1 |
|
|
|
|
? |
58E-60-00040 |
• ELEMENT, FILTER |
1 |
|
|
|
|
? |
|
• CORE ASSEMBLY (1) |
1 |
|
|
|
|
? |
BF3632 |
• COVER ASSEMBLY |
1 |
|
|
|
|
? |
BF2194 |
• • PLUG, BOTTOM |
1 |
|
|
|
|
? |
BF2199 |
• • CAP, FILTER |
1 |
|
|
|
|
? |
SV9812 |
• • O-RING |
1 |
|
|
|
|
? |
VM0315 |
• • PLUG |
1 |
|
|
|
|
? |
BF2196 |
• • RING, BACKUP |
2 |
|
|
|
|
? |
BF2207 |
• • FITTING, STRAIGHT THREADED |
1 |
|
|
|
|
? |
TG4083 |
• • O-RING |
2 |
|
|
|
|
? |
VM0315 |
• PLUG |
1 |
|
|
|
|
? |
|
NOTE: NS = NOT SHOWN |
|
|
|
|
|
? |
VM0313 |
PLUG |
1 |
|
|
|
|
? |
|
NOTE: (1) NOT SERVICED SEPARATELY. |
|
|
|
|
|
? |
|
(QUANTITIES SHOWN ARE FOR ONE SIDE ONLY.) |
|
|
|
|