k-part.com
Вход
Komatsu Parts Catalogs
Корень
Dump Trucks Komatsu
AFE NEW
AFE59-FP 930E-4 S/N A31735 & A31750 - A31751 LOS PELAMBRES(afe59-fp)
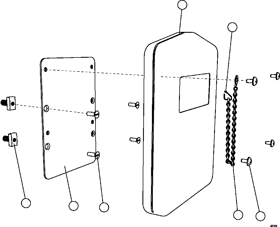
MANUAL HOLDER(194 : 42100)
Item
PartNo
Description
Qty
Options
Ref
Alt
?
PC1825
NUT, SPRING
4
?
EL1098
PLATE
1
?
VN7403
MACHINE SCREW - 5/16" - 18NC X 1
4
?
PC1801
MANUPAK
1
?
SM5245
CHAIN, BEADED
1
?
SM0926
SCREW - M6 X 1.00
4
?
WA3217
COLD SHUT
1
?
?
?
?
?
?
?