|
Item |
PartNo |
Description |
Qty |
Options |
Ref |
Alt |
|
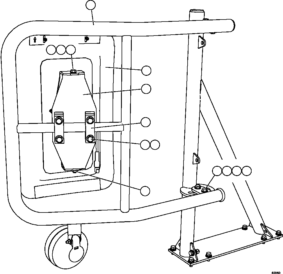
? |
EM9031 |
MOUNT, MIRROR |
1 |
|
|
|
|
? |
PC2930 |
MIRROR |
1 |
|
|
|
|
? |
XA5483 |
• KIT, HEATED MIRROR GLASS REPAIR |
1 |
|
|
|
|
? |
XA5484 |
• KIT, TOP MIRROR CAP REPAIR |
1 |
|
|
|
|
? |
XA5485 |
• KIT, HEATED MIRROR CASE REPAIR |
1 |
|
|
|
|
? |
XA5486 |
• KIT, BALL STUD ASSEMBLY REPAIR |
1 |
|
|
|
|
? |
XA5487 |
• KIT, ELECTRIC WIRING REPAIR |
1 |
|
|
|
|
? |
XB5568 |
MOUNT, MIRROR |
1 |
|
|
|
|
? |
MM0621 |
CAPSCREW - M12 X 1.75 X 45 |
4 |
|
|
|
|
? |
MM0472 |
LOCKWASHER - M12 |
4 |
|
|
|
|
? |
MM0714 |
FLAT WASHER - M12 |
4 |
|
|
|
|
? |
MM0179 |
NUT - M12 X 1.75 |
4 |
|
|
|
|
? |
EM9038 |
CLAMP |
2 |
|
|
|
|
? |
MM0623 |
CAPSCREW - M12 X 1.75 X 60 |
4 |
|
|
|
|
? |
MM0606 |
CAPSCREW - M10 X 1.50 X 30 |
2 |
|
|
|
|
? |
MM0713 |
FLAT WASHER - M10 |
4 |
|
|
|
|
? |
MM0693 |
LOCKNUT - M10 X 1.50 |
2 |
|
|
|
|
? |
08193-21012 |
CLIP |
1 |
|
|
|