Komatsu Parts Catalogs























Item PartNo Description Qty Options Ref Alt
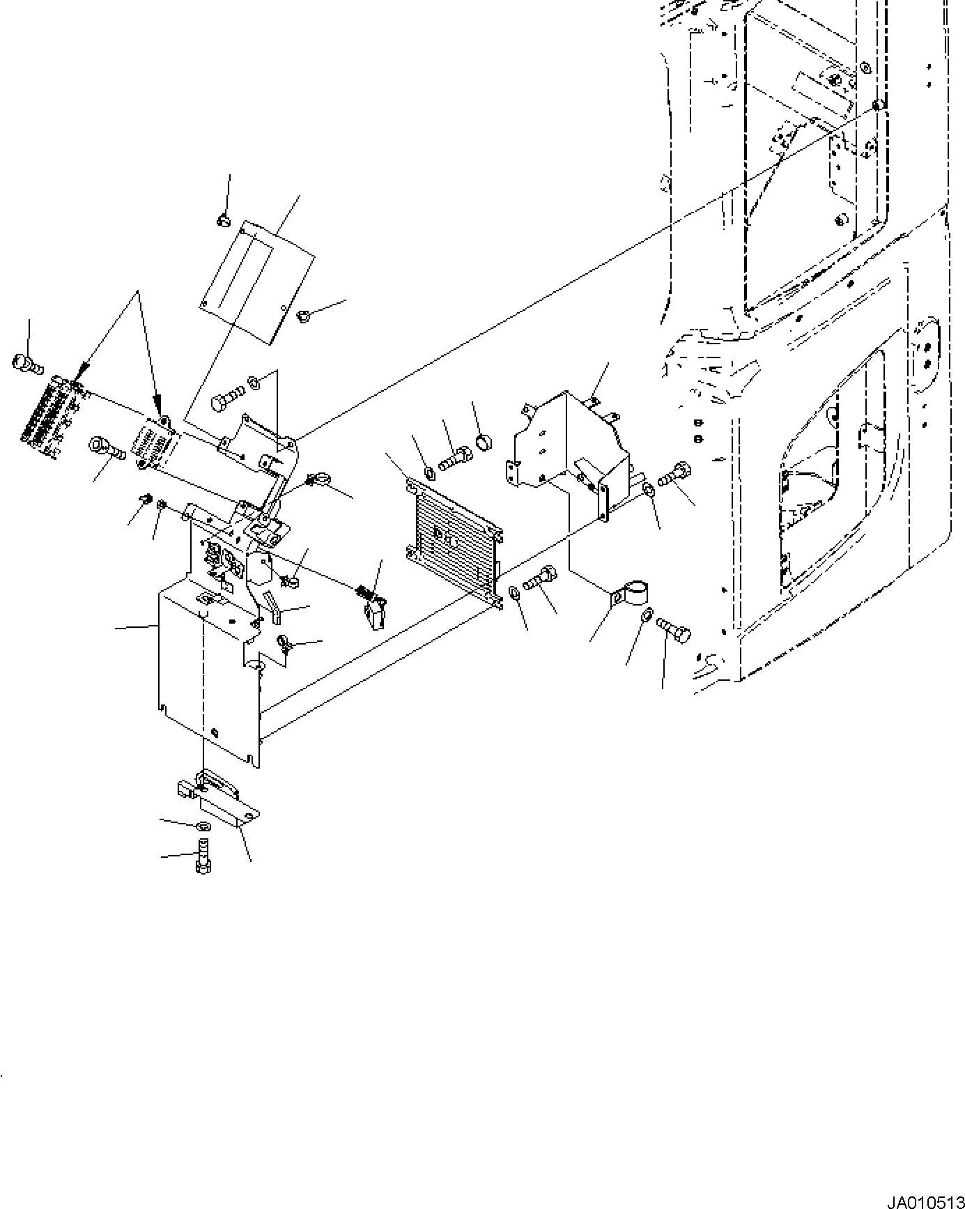
? 22B-06-31452 BRACKET 1
SN: F40003-
? 7835-50-4000 CONTROLLER, PUMP 1
SN: F40003-
? 01010-80820 BOLT 4
SN: F40003-
? 01643-30823 WASHER 4
SN: F40003-
? 22B-06-21920 CAP 1
SN: F40003-
? 7861-94-3000 RESISTOR 1
SN: F40003-
? 01010-80816 BOLT 2
SN: F40003-
? 01643-30823 WASHER 2
SN: F40003-
? 22B-06-31430 WIRING HARNESS 1
SN: F40003-
? 208-43-71420 CAP 2
SN: F40003-
? 08059-00515 CLIP 2
SN: F40003-
? 04434-53211 CLAMP 1
SN: F40003-
? 01023-10620 SCREEN 2
SN: F40003-
? 22B-06-31490 BRACKET 1
SN: F40003-
? 01010-80612 BOLT 4
SN: F40003-
? 01643-30623 WASHER 4
SN: F40003-
? 22B-06-21371 SHEET 1
SN: F40003-
? 22U-43-23290 CLIP 3
SN: F40003-
? 01010-81020 BOLT 1
SN: F40003-
? 01643-31032 WASHER 1
SN: F40003-
? 01252-80516 BOLT 2
SN: F40003-
? 22B-06-14750 SEAL 1
SN: F40003-

Excavators Komatsu / PC138US-10 S/N F40003 AND UP(PC138U10) / FLOOR FRAME, ELECTRIC PARTS(K1110-001007 : K1110-001007)
?
?
?
?
?
?
?
?
?
?
?
?
?
?
?
?
?
?
?
?
?
?
?
?
?
?
?
?