k-part.com
Вход
Komatsu Parts Catalogs
Корень
Excavators Komatsu
PC138US-10 S/N F40003 AND UP(PC138U10)
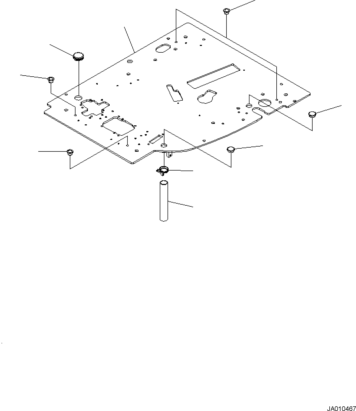
FLOOR FRAME, FLOOR AND CAP(K1110-001001 : K1110-001001)
Item
PartNo
Description
Qty
Options
Ref
Alt
?
22B-54-33121
FLOOR
1
SN: F40003-
?
07286-03826
HOSE
1
SN: F40003-
?
07280-04726
CLAMP
1
SN: F40003-
?
07048-01310
PLUG
4
SN: F40003-
?
22U-54-25581
GROMMET
2
SN: F40003-
?
09415-03620
CAP
1
SN: F40003-
?
?
?
?
?
?
?
?
?