k-part.com
Вход
Komatsu Parts Catalogs
Корень
Excavators Komatsu
PC100N-6 S/N 1004-UP(pc100n-r)
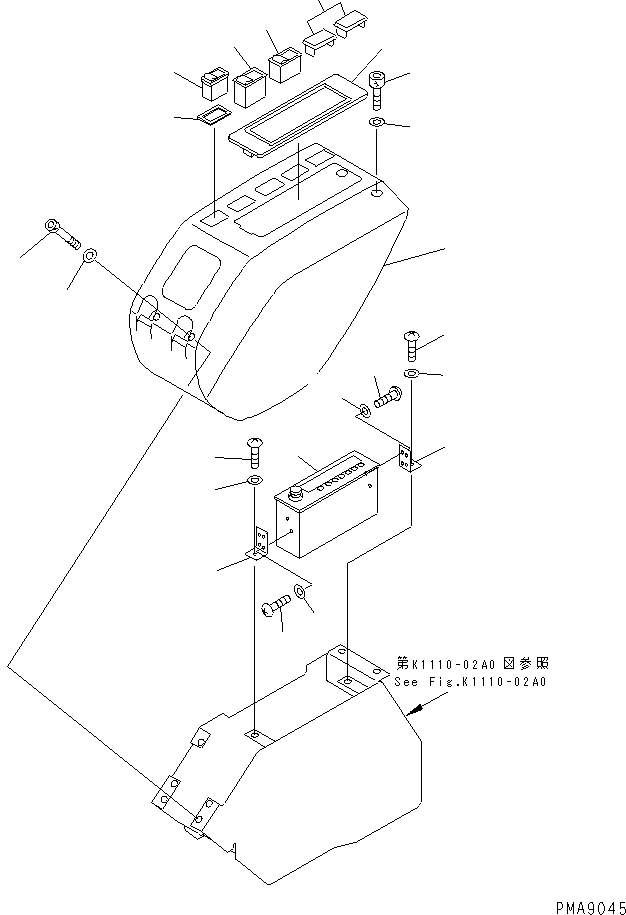
FLOOR FRAME (COVER L.H.)(#1004-1190)(210620 : K1110-10A0)
Item
PartNo
Description
Qty
Options
Ref
Alt
?
201-54-73281
CONSOLE BOX
1
SN: 1004-1190
?
20T-54-71570
BOLT
2
SN: 1004-1190
?
20T-54-71550
BOLT
2
SN: 1004-1190
?
01643-70823
WASHER
4
SN: 1004-1190
?
201-06-71440
SWITCH,SWING LOCK
1
SN: 1004-1190
?
201-06-71230
SWITCH,WIPER
1
SN: 1004-1190
?
201-54-73410
COVER
2
SN: 1004-1190
?
20Y-06-21720
RADIO
1
SN: 1004-1190
?
201-54-73440
BRACKET
2
SN: 1004-1190
?
01220-40510
SCREW
6
SN: 1004-1190
?
01641-20508
WASHER
6
SN: 1004-1190
?
201-54-73291
COVER
1
SN: 1004-1190
?
201-06-71210
SWITCH,TRAVEL SPEED CONTROL
1
SN: 1004-1190
?
201-54-73190
SPACER
1
SN: 1004-1190
?
?
?
?
?
?
?
?
?
?
?
?
?
?
?
?
?
?
?
?
?
?