|
Item |
PartNo |
Description |
Qty |
Options |
Ref |
Alt |
|
? |
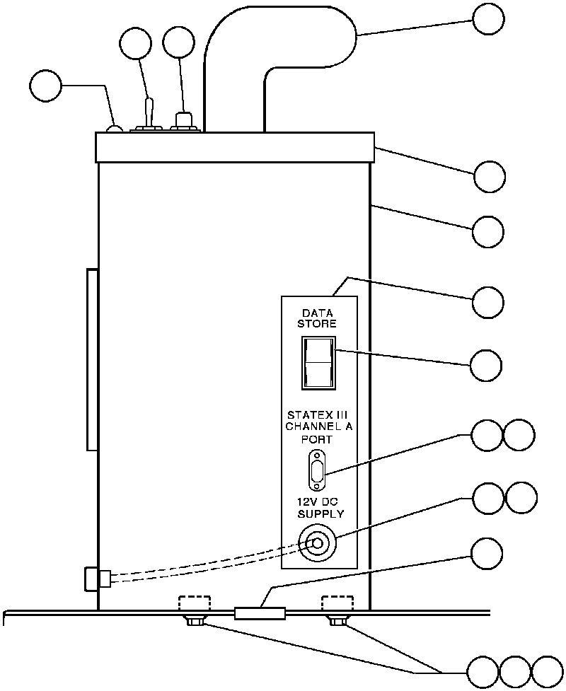
VW8721 |
• SWITCH, SELECTOR |
1 |
|
|
|
|
? |
|
• • (NOT USED THIS APPLICATION) |
65535 |
|
|
|
|
? |
EF1405 |
• • PANEL, CONSOLE |
1 |
|
|
|
|
? |
EC7682 |
• • CONSOLE, ELECTRICAL |
1 |
|
|
|
|
? |
C1602 |
• • CAPSCREW - 3/8" - 16NC X 1" |
4 |
|
|
|
|
? |
C0312 |
• • LOCKWASHER - 3/8" |
4 |
|
|
|
|
? |
WA0720 |
• • FLAT WASHER - 3/8" |
4 |
|
|
|
|
? |
VZ1807 |
• • PLUG, BOTTOM |
1 |
|
|
|
|
? |
WA4513 |
• • HEX HEAD SCREW - #10 - 24NC X 1/2" |
6 |
|
|
|
|
? |
WB0768 |
• • NAME PLATE |
1 |
|
|
|
|
? |
PB6969 |
• • SWITCH, ROCKER |
1 |
|
|
|
|
? |
PB8334 |
• • CLAMP |
1 |
|
|
|
|
? |
PB8256 |
• • SCREW LOCK |
1 |
|
|
|
|
? |
EC8237 |
• • HARNESS, 12 VDC |
1 |
|
|
|
|
? |
PB8317 |
• • RECEPTACLE, ACCESSORY 12 VDC |
1 |
|
|
|
|
? |
PB8624 |
• • SWITCH, PUSH BUTTON |
1 |
|
|
|