k-part.com
Вход
Komatsu Parts Catalogs
Корень
Dump Trucks Komatsu
AFE42-Q 630E S/N 32418 LEIGHTON(afe42-q)
WIGGINS QUICK FUEL - L.H. (BD0651)(364 : 30119)
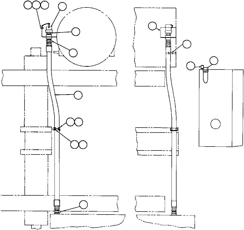
Item
PartNo
Description
Qty
Options
Ref
Alt
?
TL7218
• CAPSCREW - 3/8" - 16NC X 7/8"
1
?
TC1233
• • NUT - 3/8" - 16NC
1
?
TC1231
• • LOCKWASHER - 3/8"
1
?
VW6420
• • CAP, REFUELING
1
?
PB2154
• • RECEIVER ASSM
1
?
SV6653
• • ADAPTOR, STRAIGHT
2
?
HA5175
• • HOSE
1
?
TH5601
• • CLAMP, HALF
1
?
TV6026
• • CAPSCREW - 1/4" - 20NC X 2"
2
?
TH5602
• • GROMMET
1
?
TZ5719
• • PLATE
1
?
TZ5724
• • BRACKET
1
?
DF3987
• • NIPPLE
1
?
TA1978
• • VENT ASSM
1
?
VE2890
• • KIT, REPAIR
1
?
D5576
• • CAP, PIPE
1
?
?
?
?
?
?
?
?
?
?
?
?
?
?
?
?