Komatsu Parts Catalogs






















Item PartNo Description Qty Options Ref Alt
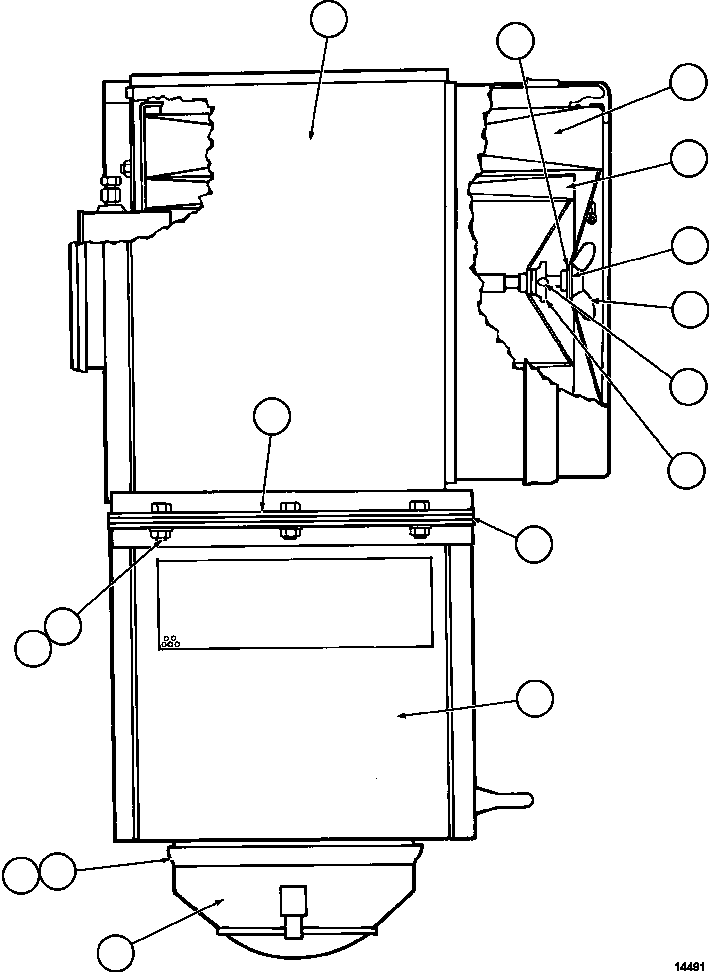
? VJ1311 BODY, UPPER 1
? VJ5176 ELEMENT, SAFETY 2
? VS1351 GASKET 2
? VS1349 PIN 2
? VS6704 NUT, INDICATOR 2
? VJ5175 ELEMENT, PRIMARY 2
? VS2187 NUT, WING 2
? VS2188 CLIP 2
? VJ4028 BODY, LOWER 1
? VP0359 CLAMP 3
? VS2190 O-RING 3
? VJ4014 CUP ASSEMBLY 1
? VS2193 GASKET 2
? VS2194 GASKET 2
? VS2195 BOLT 22
? VS2196 NUT 22
? NOTE: NS = NOT SHOWN
? TB1018 RAIN GUARD - R.H. 2
? TB1019 RAIN GUARD - L.H. 2
? TB1406 RAIN GUARD - FRONT 2
? PB6091 VACUUM RELIEF CUP ASSEMBLY (OPTIONAL) 6

Dump Trucks Komatsu / AFE48-BF 930E-2 S/N A30012  CODELCO(AFE48-BF) / AIR CLEANER ASSEMBLY           PB6850(040 : 14491)
?
?
?
?
?
?
?
?
?
?
?
?
?
?
?
?