|
Item |
PartNo |
Description |
Qty |
Options |
Ref |
Alt |
|
? |
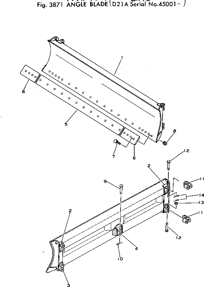
104-Z40-1100 |
BLADE ASS'Y |
1 |
SN: 45001- KIT-FLAG: _- SERIALNO: 45001- |
|
|
|
? |
104-Z40-1120 |
• BRACKET,L.H. |
1 |
SN: 45001- KIT-FLAG: _- SERIALNO: 45001- |
|
|
|
? |
104-Z40-1130 |
• BRACKET,R.H. |
1 |
SN: 45001- KIT-FLAG: _- SERIALNO: 45001- |
|
|
|
? |
101-71-12650 |
• BRACKET,L.H. |
1 |
SN: 45001- KIT-FLAG: _- SERIALNO: 45001- |
|
|
|
? |
101-71-12640 |
• BRACKET,R.H. |
1 |
SN: 45001- KIT-FLAG: _- SERIALNO: 45001- |
|
|
|
? |
101-71-12630 |
• BRACKET |
1 |
SN: 45001- KIT-FLAG: _- SERIALNO: 45001- |
|
|
|
? |
104-Z40-1160 |
EDGE |
1 |
SN: 45001- KIT-FLAG: _- SERIALNO: 45001- |
|
|
|
? |
12F-929-2170 |
BIT |
2 |
SN: 45001- KIT-FLAG: _- SERIALNO: 45001- |
|
|
|
? |
02090-10840 |
BOLT |
20 |
SN: 45001- KIT-FLAG: _- SERIALNO: 45001- |
|
|
|
? |
02290-10813 |
NUT |
20 |
SN: 45001- KIT-FLAG: _- SERIALNO: 45001- |
|
|
|
? |
101-71-12340 |
PIN |
1 |
SN: 45001- KIT-FLAG: _- SERIALNO: 45001- |
|
|
|
? |
04050-06050 |
PIN |
1 |
SN: 45001- KIT-FLAG: _- SERIALNO: 45001- |
|
|
|
? |
101-71-12280 |
JOINT |
4 |
SN: 45001- KIT-FLAG: _- SERIALNO: 45001- |
|
|
|
? |
101-71-12310 |
PIN |
4 |
SN: 45001- KIT-FLAG: _- SERIALNO: 45001- |
|
|
|
? |
01640-22845 |
WASHER |
2 |
SN: 45001- KIT-FLAG: _- SERIALNO: 45001- |
|
|
|
? |
04050-06045 |
PIN |
4 |
SN: 45001- KIT-FLAG: _- SERIALNO: 45001- |
|
|